-
-
The working prototype
-
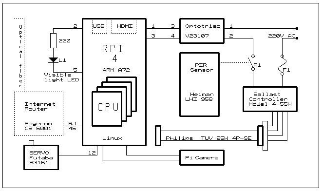
Hardware architecture
-
Top shield and target shelf mechanical design
-
Mechanical build
-
UVC Lamp fixture closeup in protective cage
-
UVC Lamp model
-
UVC Lamp Danger Warnings
-
Raspberry Pi4 connected to the optotriac controlling the electronic ballast of the UVC Lamp
-
UVC Lamp in fixture with protective cage connected to electronic ballast
-
Demo control webpage (available online at http://smlab.pagekite.me)
The problem
Disinfection of objects (e.g used expensive personal protective equipment, like face masks) using a solution with minimum expendable supplies (e.g without chemical solutions).
The solution
Build an emergency do-it-yourself IoT actuator using UV-C radiation for sterilizing objects (e.g used expensive personal protective equipment, like face masks) useful in the ongoing COVID-19 epidemic.
The solution exploits the unique germicidal effect of UV-C radiation at 253nm of destroying the DNA and RNA structures of both bacteria and viruses. The UV-C exposure method used for sterilization of N95 face mask and other personal protective equipment is analyzed in a recent research paper where not only the efficiency is put under scrutiny, but also the adverse effects like the potential damage done to the masks due to UV exposure.
The main components included in the solution are a cabinet to deposit the object for sterilization supporting at the top a shield housing the UV-C lamp to concentrate the light downwards, one commercially available 25W UV-C lamp (Philips TUV 25W 4P-SE), a compatible electronic ballast controller for the lamp and a Raspberry Pi 4 embedded computer to serve as an IoT node for remotely controlling and monitoring the UV actuator. The used software tools are Linux, Apache, HTML, PHP and Python.
How we built it during this weekend
Work was divided in building mechanical, hardware and software components.
The mechanical work covered the build of a special cabinet housing the UV-C lamp and adjustable shelves supporting the exposed target objects. The enclosure was designed to shield the external environment from the UV-C radiation and provide passive protection against dangerous human exposure.
The hardware activities included interconnecting the Raspberry Pi4 with the opto-triacs for commanding the electronic ballast controller of the UV-C Lamp, a PIR motion sensor for disabling the radiation emissions in case of accidental human presence.
The software activities included the configuration of the Linux operating system on Raspberry Pi4, an Apache Web server, the development of an active web page providing remote user access to control the exposure of the setup. A demo version of the working prototype is available live at http://smlab.pagekite.me.
The solution's impact to the crisis
Empowers humanity with a new Internet of Things UV-C active device useful in fighting SARS-CoV-2.
The necessities in order to continue the project
More data regarding the required exposure conditions for proper disinfection process and a software fine tuning calibration of the device to match the requirements. Such data starts to already be available openly online as mentioned by previously referred research article. Further standardization of the hardware and software for easy replication and maintenance of the final products and their interconnection and management. Expand UV-C Light generator with LED In order to develop mobile robots for disinfection.
The value of the solution after the crisis
Enriching the computer networks with a new type of active device for a new world. A versatile IoT development platform expanded with UV-C as actuators useful for educating the future generations, while keeping its practical usage.



Log in or sign up for Devpost to join the conversation.